ООО «ЖД-СтройГруппа» осуществляет изготовление и поставку различных ж/д изделий (фрезерованных накладок Р65, тупиковые упоры, контррельсовые узлы)
Фрезерованные накладки Р65
Накладки Р-65 фрезерованные используются при устройстве алюмотермитных стыков и выступает в качестве предохранительного элемента. Обработка производится в соответствии с приложением к ТУ 0921-127-01124323-2005 «Сварка рельсов алюминотермитная методом промежуточного литья» и ГОСТ Р 57181-2016.

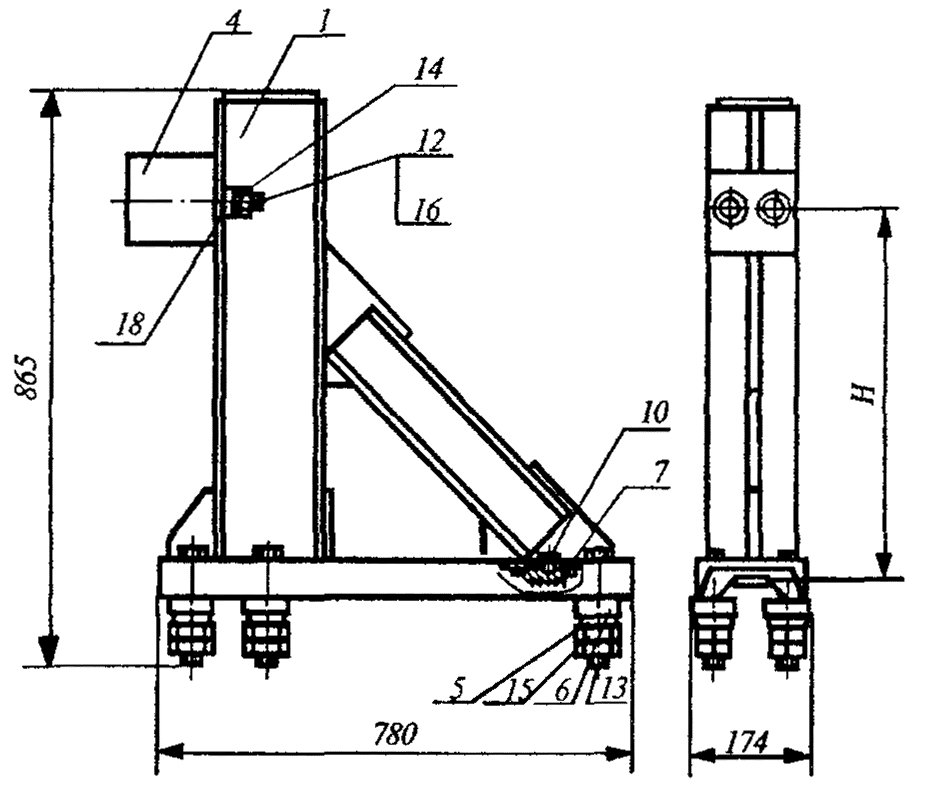
Путевой рельсовый упор
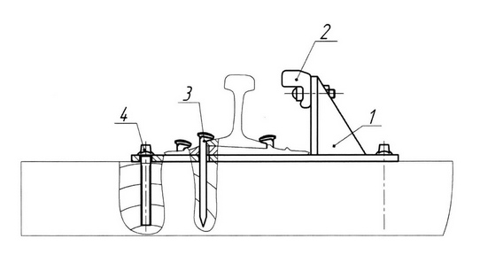
Путевой рельсовый упор (тупиковый упор) — механическое предохранительное устройство безопасности, служащее для ограничения хода движения и остановки подвижного состава. Путевой рельсовый упор изготовлен согласно приказу МПС РФ № 9-ЦЗ от 03.07.91г. Также тупиковый упор известен под маркировкой ПС 53.00.00, которая сейчас не используется.
Упор внутрицеховой
Внутрицеховой упор (тип УР-1) широко используется в производственных цехах как заграждение на внутрицеховых путях.
Тупиковый упор ударного типа
Данная конструкция гасит остаточную скорость крана и не дает ему сойти с концевых участков пути. Упор тупиковый ударного типа представляет собой сборно-сварную конструкцию, состоящую из отдельных деталей (швеллера, листы). Для снижения силы удара предусмотрен амортизатор, который выполняется из древесины или резины. Установка и закрепление упора на рельсе осуществляется с помощью болтовых соединений.
Контррельсовый узел СП-850
Контррельсы предназначены для установки на криволинейных участках железнодорожных путей малого радиуса (менее 250 м) в целях улучшения условий вписывания подвижного состава, уменьшения износа наружного рельса, обеспечение устойчивости рельсовой колеи от распора, уменьшение затрат труда, связанных с перешивкой пути.


